-
记一次黑客利用阿里云服务器进行CC攻击事件
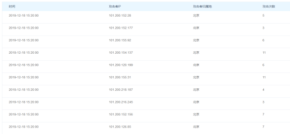
最近在帮一客户的防御CC攻击的时候,查询攻击IP的时候发现好多都是阿里云IP段的 随便查询一个IP地址全是来自阿里的 肉鸡量很多,每台肉鸡只攻击几次,阿里云那边根本察觉不出来,而且由于都是国内的IP,防御起来相当困难。还好百度云加速给力。 这种肉鸡成本其实很低,大多是黑客利用双11阿里云促销的时候购买的主机,购买几十上百台成本也不高,估计他们接一单生意就赚回来了。阿 里云那边也没折,因为从数据上看…- 0
- 0
- 1.4m
-
使用百度云加速备案号会被注销吗
经常有客户反馈说备案号被注销了,原因是使用CDN后,网站显示IP不是空间商提供的IP了,导致检测备案不一致。 这里我们说明下:使用CDN并不是影响网站备案的,也不会因为使用CDN而被注销备案。 原因是备案检测是按未解析到备案接入商或无流量请求至备案接入商,才会显示接入商不一致, 这里的接入商是指你当初备案的空间商,有些同学在阿里云备的案,然后使用别的空间商的服务器,这样就会显示接入商不致,阿里那边…- 0
- 0
- 10.9b
-
华为云DNS一家非常良心的免费域名DNS服务
DNS大家都知道,是域名解析的基础,好的DNS不仅可以让网站访问稳定,还可以提升网站访问速度,甚至可以防御攻击。之前主机吧一直都是用阿里云的免费DNS,主要是大品牌值得信赖,偶然的一次机会,主机吧接触到了华为云DNS,瞬间喜欢上了这个DNS服务,不仅免费,而且功能强大,很多在别家服务商收费的功能,华为云DNS都是免费提供的。 比如线路区分,可以区分运营商线路解析,如国内电信、联通、移动、铁通、教育…- 0
- 0
- 5.7t
-
百度云加速DNS已支持解析区分海外线路
不知道有没有细心的站长发现,百度云加速已经的DNS已经支持区分海外线路了,这是一个非常重要功能。 为什么这么说呢? 好处1:可以针对海外攻击进行屏蔽 很多攻击都是从海外肉鸡打过来的,如果我们把海外访问的IP单独设置请求某别的服务器,那样海外就打不到你的服务器上了。操作方法很简单,解析的时候选海外线路,指向别的服务器IP,只要不你的服务器IP就行,比如主机吧解析至IP101.13.143.1 (乱写…- 0
- 0
- 639.4b
-
客户网站IP暴露不更换IP的情况下解决CC攻击方法
最近主机吧遇到一位客户网站被CC攻击了,主机吧给他接入了百度云加速商务版进行防御,不过等生效后,发现并没有效果?! 主机吧查看了下CDN报表,发现并没有多少请求访问至百度CDN节点 但是监控服务器发现CPU一直处在100%负荷状态的 登陆服务器后发现有大量请求源于PHP,一开始我们以为是中毒了,后来查看了下网站响应日志发现有大量非百度云加速IP从网站流入,而且这些IP大多是阿里云的IP 由此可见有…- 0
- 0
- 4.4k
-
WordPress 5.3.1自动更新失败 手动更新解决办法
WordPress作为全球最受欢迎的开源程序由于种种原因国内访问官网一直很垃圾,虽然有中文版,但是并没有中文官网,经常性访问不了,不仅插件经常性更新失败,而版本更新也经常失败。 比如这次主机吧更新WordPress 5.3.1就出现了安装失败,其根本原因是国内网络根本访问不了wordpress.org。 Notice: 发生了预料之外的错误。WordPress.org或是此服务器的配置可能出了一些…- 0
- 0
- 171.6t
-
百度云加速如何校验SSL证书
最近发现很多站长在使用百度云加速申请SSL证书的时候不知道如何校验审核,今天我们来教大家如何校验。 1.首先我们先申请证书,选择要申请证书的域名,并选DNS校验,文件校验之前这边写过一篇教程,可以参考相关链接 2.提交后得出要解析记录 3.进入域名解析设置,按上面的解析记录,记录类型选TXT,主机记录设置(即子域名):_dnsauth 记录值:201912110256345rbrunidf2so2…- 0
- 0
- 9.8t
-
使用百度云加速如何免费申请SSL证书
百度云加速收费版的都支持免费申请的专属域名SSL证书,管理起来也非常方便,不过还是有一些站长管理员并不知道如何申请。 今天我们来教大家如何申请免费申请SSL证书。 1.进入已接入的百度云加速域名管理,证书管理,证书申请 3.进入点击申请证书 4.选择要申请证书的域名(详细到子域名),选择验证方式,这里主机吧选择文件校验方式,生效较快。 5.提交后,得到相应的验证文件地址, 6.这里的校验估计有很多…- 0
- 0
- 31.3b
-
百度云加速已支持HTTPS微信支付回调问题
长期以来由于微信支付不支持SNI方式上传SSL证书,导致微信无法回调,百度云加速官方给出的方案是: 由于微信支付回调 HTTPS 的时候没有携带SNI信息,而CDN的共享节点默认是SNI方式,所以微信的回调无法成功。 解决方案一般有三种: 1、在微信平台配置回调为 HTTP 协议地址,微信支付即可以正常使用。 2、将微信回调的地址单独配置一个子域,回调的子域不接入 CDN(可开启回源…- 0
- 0
- 26b
-
阿里云域名交易市场帐号被冻结原因
线上议价交易达成后,累计三次违约,交易服务被系统冻结7天 线上议价交易达成后,累计三次违约会导致账户被冻结7天。7天内该账户不能发布新的交易域名,也不能购买其他域名。已发布的交易域名将被强制下架(非删除),待7天冻结时间到期后,重新自动上架。详情请参见线上议价规则说明。 域名竞价卖家不履行交割域名义务 域名已经竞价结束,但未按规定时间完成域名交割,或故意采用转移域名等方式实现域名竞价无效,最终导致…- 0
- 0
- 19060894155669524
-
wordpress修改站点(URL)导致错误如何退回
最近一直在折腾百度云加速海外版测试站的事,本来想着给测试站弄个HTTPS,结果在wordpress后台直接修改wordpress地址(URL)和站点(URL)的时候,导致直接访问不了,后台也进不去了,显示: 此页面不能正确地重定向 Firefox 检测到该服务器正在将指向此网址的请求无限循环重定向。 有时候禁用或拒绝接受 Cookie 会导致此问题。 看到这个问题主机吧也懒得弄HTTPS了,直接把…- 0
- 0
- 9223372036854775807
-
如果查看域名DNS在本地电脑是否生效
经常有客户说,网站变更到百度云加速DNS后,网站打不开了…… 其原因是域名变更DNS后,你原来的DNS已经停止解析了,而新的DNS并没有在你本地生效,这就导致了你的域名无法正常访问。 表现为:找不到DNS服务器 域名本地ping显示 请求找不到主机 那么要如何检查域名DNS在本地是否生效呢? 1.首先我们进入电脑运行CMD 2.输入 nslookup 回车键确认 3.输入 set t…- 0
- 0
- 81.9b
-
百度云加速海外版出来啦!免备案,价格便宜!
万众期待的海外版出来了啦!长期以来备案一直都是头痛的事情,很多网站基本都选择国外服务器存放,达到免备案的目的,海外服务器也不是什么好事,国内访问不稳定,速度跟不上,容易被攻击等问题一直困扰着我们。 针对这问题百度云加速联合美国安全大厂cloudflare推出了集成网站加速、安全防御的海外版。DDOS防御不限量哦,CC防御跟国内版一样,除了DDOS防御不限量外,其它基本配置都是跟国内版一样,价格也致…- 0
- 0
- 5.2m
-
使用百度云加速免费版部分地区无法访问原因
今天有客户向主机吧反馈使用百度云加速后,有部分地区反馈网站打不开,出现DNS找不到IP的情况 主机吧让客户提供了下域名,查询后我们发现客户域名使用的免费版的,百度云加速免费版节点相少,而且不提供移动节点。于是我们建议客户购买收费版的试试。 经过半小时的切换后,果然正常了! 在这里我们提醍客户,如果要更好的服务建议用收费版的,百度云加速免费版的毕竟是给客户体验用的,其限制非常大的,收费版的也不贵,详…- 0
- 0
- 31.4k
-
什么是DDoS攻击?被DDoS攻击的表现和常见攻击手段
什么是DDoS? DDoS 最早可追溯到1996年,在2002年中国开始频繁出现,2003年已经初具规模。DDoS即分布式拒绝服务攻击英文缩写,指以分散攻击源来黑进指定网站的黑客方式。总之DDoS会想办法让目标机器停止提供服务或资源访问。 常见被攻击表现: (1) 被攻击主机上有大量等待的TCP连接; (2) 网络中充斥着大量的无用的数据包; (3) 源地址为假 制造高流量无用数据,造成网络拥塞,…- 0
- 0
- 862.7m
-
遇到 DDoS 怎么办?老司机教你如何解决被攻击问题
经常有一些网站在各家公有云厂商上遭遇DDoS(分布式拒绝服务攻击)后被公有云限制服务的无奈现状。我怎么说也混迹多年的老站长,对于DDoS攻击是非常了解的,帮助过不少网站做过安全防御,基本都是可以满意解决,所以今天我们来为大家讲解下遇到遇到 DDoS 怎么办? 1、误解 先讲一个普遍的误解。近年来DDoS攻击越来越频繁,攻击流量越来越大,有很多人误以为是因为黑客掌握了越来越多的带宽资源可以发动越来越…- 0
- 0
- 259.9b
-
景安虚拟主机如何导入数据库
常常有站长使用景安虚拟主机的时候不懂得如何导入数据库,这里主机吧来教大家如何操作。 1.进入虚拟主机控制面板,快云数据库管理 2.没有创建数据库的先创建数据库,创建好数据库后点数据 库管理 3.点数据库连接 4.点你之前创建的数据库名 5.再点导入 6.选择好要上导入的数据库,再点执行即可,完成!- 0
- 0
- 171.8b
-
使用百度云加速如何防护CC攻击
使用百度云加速最主要功能是防御攻击,ddos我们就不多讲了,只要你自己不主动暴露源服务器IP,黑客基本是攻击不到你的服务器的,所以DDoS攻击基本对百度云加速无效。 那么只有CC攻击了,很多网站管理员只是简单的接入百度云加速,以为就可以防CC了,其实并不是的。百度云加速默认有对一些明显是CC攻击的请求进行拦截的,比如单IP访问频率,访问路径等特征进行拦截,但有些黑客肉鸡多的话是可以有效规避掉这些特…- 0
- 0
- 160.2k
-
QQ浏览器如何去掉点两下自动搜索
使用QQ浏览器访问网页的时候,点两下鼠标总是会自动搜索,很烦,如何解决呢? 方法如下: 右上角三条线那里 应用中心 点管理应用 找到划词搜索插件,卸载掉即可。- 0
- 0
- 925.7b
-
网站建设之购买备案空间?
主机吧做虚拟主机、云服务器商已经很久了,经常会遇到一些新手客户来咨询购买空间,而且还是购买备案空间,但是又不想备案? 看到这里主机吧一脸懵逼……仔细一想,原来是很新手以为备案是空间备案,这是误解。 根据国内法律规则凡是使用国内空间的网站,绑定域名需要进行ICP备案,而使用海外空间的则不需要备案,包括香港、台湾。 也就是说备案是以域名为主,域名需要用国内服务器就必须备案,用国外的我们管…- 0
- 2
- 1.5b
-
如何关掉鲁大师广告?
不知道大家有没有遇到过,打开浏览器或者打开网页,右下角经常弹出一个漂浮窗口广告,一般都是淘宝广告,聚划算之类的,有时还弹出游戏广告,很是烦人。 一开始主机吧以为是浏览器问题,结果换了几个浏览器还是会经常弹出,后来才知道原来是电脑上安装的鲁大师弹出来的,毕竟是免费软件嘛,如果没广告肯定是没办法盈利的,可以理解。 但该关广告还是得关的,那如何关掉鲁大师的广告呢? 其它很简单,进入软件管理,找到鲁大师,…- 0
- 0
- 4530236351840263
-
网站常见的攻击和安全防御方法
网站被攻击怎么办?一个长期运营的网站被攻击在所难免,被攻击原因很多,一般都是利益驱使,比如同行竞争,非法跳转,盗取信息等,想要做好网站一定要先了解安全,一个没有安全防护的网站就好像开店没有门锁似的,夜晚总会小偷光顾的,据全球统计,全世界的网站有80%以上都有被黑客不同程度的攻击过,所以网站安全防御很重要,今天主机吧就带大家详细了解下网站被攻击的常见形式与如何做好防御。 一、网站被攻击的常见形式: …- 0
- 0
- 12.4b
-
网站被攻击跳转博彩、挂黑链、打不开怎么解决?
网站被攻击,首先牵扯到的就是网站的开发语言,包括了代码语言,以及数据库语言,目前大多数网站都是使用的PHP,JAVA,.net语言开发,数据库使用的是mysql,oracle等数据库,那么网站被攻击了该怎么办?运营一个网站,总被攻击是时有发生的,尤其一些公司网站,以及个人建站,都是没有专职的安全技术人员维护,导致网站经常被攻击,经常被跳转到bo彩,cai票,du博网站上去,甚至有些网站都被挂马,网…- 0
- 0
- 215.4k



























