-
谨慎“快递到付”骗局
现在的推广真是无孔不入啊!今天突然收到一份“不速之客”寄来的快递,直接邮寄到公司里去了,封面正常里面实则八竿子打不着的“广告宣传”资料,还是快递到付,同事未知代签收白白付了45块到付快递费。又一个搞灰色套路的,防不胜防呐!下午QQ收到同事发来的消息:“说有给我邮寄来的快递,帮我签收了”。因为是直接邮寄快递到我公司(松松兄弟)了,邮寄名我本人,到付45元,同事以为是合同发票,就直接拆开了,打开一看原…- 0
- 0
- 27.3k
-
高防IP与高防CDN的区别
高防IP与高防CDN主机吧都有相关业务,经常会有站长问主机吧高防IP与高防CDN的区别在哪里,今天主机吧针对这个问题来给大家总结下两者之前的区别,希望可以帮助大家更好的选择。 1 支持业务不同 一般的高防CDN主要是针对网站业务,主要是通过域名访问的防御,所以限定开放端口是80、443,这两个端口主要是HTTP和HTTPS的端口。所以那些使用别的端口的业务是没办法使用高防CDN的。而高防IP是支持…- 0
- 0
- 8.1k
-
重新解决百度云加速Error522问题
经常很多站长会遇到使用百度云加速后,网站打开很慢,甚至有时候显示522状态。 今天主机吧的一个客户就遇到这种情况,经查识是防火墙问题 我们开始以为是阿里云安骑士问题,不过查询后发现客户服务器并没有装有安骑士。然后我们发现客户安装的宝塔建站面板安装了官方收费版的CC防火墙模块,在征求客户同意后,我们卸载了防火墙模块,但问题还是存在。 我们又查看了下阿里云的安全组,结果客户服务器并没有配置安全组,到这…- 0
- 0
- 1.5m
-
阿里云用百度云加速CDN原备案会被注销?
最近有客户问主机吧:阿里云用百度云加速,原备案会被注销,是真的吗? 关于这个问题我们需要了解下百度云加速的主体是CDN,是内容分发,也就是源资料还是在云服务器上,百度只是转发而以。 任何一家云服务商都不会限制用户使用CDN,甚至支持使用CDN,所以不存在注销备案的问题。 之所有会有部分站长反馈备案被注销主要有以下原因: 1 WWW及顶级域名长期无法正常打开 我们一般备案首页都是www.ABC.co…- 0
- 0
- 196.8k
-
SSL握手失败 百度云加速无法和源站建立ssl连接原因及解决办法
最近有一百度云加速客户遇到: SSL握手失败 百度云加速无法和源站建立ssl连接 Error 525 的状态情况。 经查识是客户开启了HTTPS加速-全程加密状态,而全程加密是需要源站服务器HTTPS也是可以正常访问的。 主机吧强制回源后发现客户源服务器的HTTPS并没有正常部署SSL证书,导致百度SSL握手失败,所以就有了以上的显示。 解决问题只需要恢复源站服务器的SSL证书正常部署就可以了。 …- 0
- 0
- 22.2k
-
大型网站用哪些服务可以加速稳定
之前一直有朋友问我大型网站应该用哪些产品网站速度更快些,主机吧也没经手过大型网站,不过这几天经手了一个大型网站,流量一天在50万IP左右,PV200万这样,社区来的。主机吧帮助客户做网站防护,也了解了一些大型网站使用的产品,今天主机吧就来给大家介绍下,大型网站都用到哪些服务来运营的。一、云服务器毫无疑问云服务器是大型网站运营的必选,安全、稳定,可弹性升级配置,可在不关机的情况下升级CPU、内存、宽…- 0
- 0
- 31.2k
-
吐嘈!使用阿里云CDN遇到的一些坑事!
最近有幸接手一个客户网站,帮助其修改网站内容,结果因为客户使用的阿里云CDN心态爆炸。也许是主机吧用习惯百度云加速了,导致使用阿里云CDN的时候出现很多问题。一、网站刷新缓存很困难主机吧在改网站的时候,本地测试正常的,换上阿里云节点后,网站就出现问题了,然后主机吧就到阿里云CDN管理刷新缓存,结果刷了半天也不生效。原来他们的CDN是没办法直接全站刷新缓存的,静态资源如果设置了缓存规则的话,得单独刷…- 0
- 3
- 131.3k
-
windows宝塔安装 FTP服务器端提示端口 21 被占用的解决办法
今天帮一小白客户安装宝塔,结果在安装FTP服务的时候提示21端口被占用,查了下才知道原来这服务器原来已经用IIS创建过FTP了,导致21端口占用。 解决办法很简单,进入IIS,,右键点击IIS默认FTP站点,再点击停止,就可以停掉他,这时候你再去安装宝塔环境助手中的FTP Sever就可以畅通无阻了。 本文一方面是自己遇到的问题记录下来,另一方面是写给有遇到同样问题的网友参考。- 0
- 0
- 2.8m
-
浅谈即将消失的虚拟主机与VPS
虚拟主机,互联网早期的产物,那时候因为宽带贵,大多人租不起独立服务器,所以就出现了虚拟主机,虚拟主机是一台独立服务器下利用虚拟软件把独立服务器的资源分配成若干虚拟主机用户共大家使用,相当于一栋楼上同租了几百个单间用户。虚拟主机价格便宜,操作简单,但缺点也很明显,用的人多了,不稳定,速度慢,而且虚拟主机的功能已经不再适合网站建设的需求,比如HTTPS支持,目前很多虚拟主机都没不支持。 VPS,当虚拟…- 0
- 0
- 8.3k
-
利用百度云加速成功给客户网站防护流量攻击
前几天接手一客户网站,反馈网站这几天出现打开进去要好十几秒才进得去,卡得很,不过服务器内存CPU都正常。 经主机吧检查发现客户网站入网宽带相当高,达到每秒7MB左右,那也就是说客户服务器起码得50M宽带才能带得动现在的带宽。 而我们咨询过客户,客户网站流量并不高,也没有什么视频类的占用宽带的资源,那么我们可以确定这是一起针对宽带资源的流量攻击。 解决办法很简单,直接给客户接入百度云加速专业版CDN…- 0
- 1
- 20.5k
-
使用阿里云邮件推送接入不了邮箱原因
阿里云邮箱推送功能估计很多站长没用过,这是一种有区别于企业邮箱的服务,用得最多的是网站注册的时候邮箱验证发送验证码服务。好处在于被拦截几率很低,而且稳定,不像腾讯企业邮箱,经常会提示邮箱发送垃圾信息不成功。主机吧就遇到过,所以就换了阿里云邮箱推送服务。免费的!每天限制200封邮箱,一般的网站够用了,收费的也不贵,5万封邮箱80块。主机吧刚接入的邮箱推送的时候,遇到一个问题,明明域名验证都通过了,可…- 0
- 0
- 9.5k
-
阿里云服务器如何卸载关掉云盾安骑士
使用阿里云的服务器都知道阿里云默认是给服务器安装了云盾 ● 安骑士的,而这个云盾对网站使用了CDN的用户来说,并不友好,很容易把CDN的IP误认为是攻击,把CDN的IP节点拦截了,导致CDN访问不了,出现502状态,百度云加速的节点就经常被云盾误拦截。查看上图,百度云加速的IP112.25.90.18就是被云盾当入侵IP给处理了。解决这个办法有有两个,把百度云加速IP段加入云盾白名单或者直接把云盾…- 0
- 1
- 5.5m
-
2019最新简单百度知道引流百度推广技巧
没有什么项目是流量搞不定的,哪怕转化率与客单价低到尘埃,那就再加一点流量。所以引流技术你得恶补,打工狗学了引流技术接触的客户更多升职加薪,创业仔学了引流技术就教给打工狗然后在办公室抽烟傻乐。做互联网创业之前,我们总会遇到新手期,我做的第一份互联网差事,就是推广一款监控器APP,把黄页网站上的手机号码,一个一个粘贴下来,敲在微信搜索栏上添加好友。1个月时间还真他娘推出了几位付费用户。后来,操作的引流…- 0
- 0
- 13.3b
-
Docker容器的创建、启动、和停止教学
这篇文章主要介绍了Docker容器的创建、启动、和停止的方法,小编觉得挺不错的,现在分享给大家,也给大家做个参考。一起跟随小编过来看看吧1、容器是独立运行的一个或一组应用,及他们的运行环境。容器是Docker中的一个重要的概念。2、docker容器的启动有三种方式a.交互方式,基于镜像新建容器并启动例如我们可以启动一个容器,打印出当前的日历表[root@rocketmq-nameserver4 ~…- 0
- 0
- 17.9k
-
网站服务器被DDOS攻击的症状与解决办法
近些年来,国内的宽带越来越便宜,从而导致了DDOS攻击也越来频繁,很多黑客只需要简单的一个工具就可以操纵肉鸡对目前服务器进行几G甚至几十G的DDOS攻击。据统计我国的大中型网站每年至少被DDOS攻击一次。 许很多站长对来势迅猛的ddos攻击并不是很了解,导致网站遭遇攻击也不能被及时发现,造成防御不及时,带来经济损失。比如一些使用阿里云的服务器的,如果不是被阿里云提醒IP进入黑洞,估计都以为是网络卡…- 0
- 0
- 947.4k
-
百度云加速海外节点IP段白名单
经常有客户反馈海外节点经常出现522,522的状态大多是节点连不上源服务器,很多机房或者服务器防火墙是禁海外IP的,所以我们要把百度云加速的海外节点IP段加入白名单,以免海外IP被拦截导致522.百度云加速的海外IP段都是与之合作的cloudflare节点:103.21.244.0/22 103.22.200.0/22 103.31.4.0/22 104.16.0.0/12 108.162.192…- 0
- 1
- 85.1k
-
百度HTTPS认证提示"请将您的http站点301重定向到https站点"的解决办法
最近想把一个网站改造成https访问,但是一些都做好了,去百度站长平台认证https,结果怎么提交都是出现“请将您的http站点301重定向到https站点”,在百度站长社区提问也没有人回答,最后只能自己摸索。后面找到了原因:原来百度的https认证是严格遵守301重定向的,我用的是iis6,之前的代码为:RewriteEngine On RewriteCond %{SERVER_PORT} !^…- 0
- 0
- 29k
-
百度云加速是最具性价比的防护加速产品
为什么说百度云加速是最具性价比的防护加速产品?百度云加速是百度旗下的一款集成加速、防护、收录加速的CDN产品,可以说自诞生以来,一直广受站长的好评,尽管骂的也挺多的,但一点不妨碍其迅速成为国内占有率第一高防CDN产品。国内同类产品也很多,但是与百度云加速丰富的资源对,性价比差很多,今天主机吧就来简单讲解下,为何百度云加速性价比最高。 1.流量价格 如果你的网站流量很大,那么你肯定会关注CDN的流量…- 0
- 4
- 14.2k
-
动态网站使用百度云加速CDN设置方法
百度云加速是百度为数不多的良心产品之一,不仅可以对网站进行安全防护也可以当普通CDN加速使用,而且效果还非常好,还价格老便宜。不过问题也不少,比如一些动态网站客户反馈使用云加速的时候访问顿卡,打开时快时慢,网站响应慢的问题的,出现这类问题大多是因为设置不对导致的,今天主机吧来教大家动态网站使用百度云加速如何设置。首先我们进入域名管理-加速功能-CDN 缓存粒度设置:选择简单模式注意:动态…- 0
- 0
- 5.1k
-
关掉网站日志让服务器更抗CC攻击
虽然网站开启访问日志功能可以很清楚的查看网站访问者的IP,攻击路径等信息,但是很多时候即使你知道对方攻击你哪个链接,你也没办法防御。 而且相对于一些CC攻击来说,都是通过非法请求大量不存在的链接来导致网站服务器CPU内存占满,即使我们通过日志知道对方IP也是没用,因为对方都是用代理IP,而代理IP随时可以换,完全禁不来。 开启网站日志功能反而成了鸡肋,主机吧今天就遭受了大量CC攻击,导致CPU满1…- 0
- 0
- 3.7m
-
浅谈企业个人网站备案网站名称起名技巧
网站ICP备案法规从2005年开始,然后几年后开始强制网站必须备案才可以接入大陆境内数据机房,到目前为止国内已经没有所谓的免备案机房了,因此但凡在国内建网站的都绕不开备案。作为一个多年老站长主机吧有多年备案经历,大大小小网站备案过几十次,对于备案主机吧还是挺了解的,很多个人企业备案都是因为起名网站名称审核过不去,那么企业个人网站备案如何网站名称呢?今天主机吧来讲解下网站备案起名称的技巧。 个人备案…- 0
- 0
- 6.7m
-
关于使用CDN后影响SEO的一些小技巧
CDN刚出来的时候很高端,价格贵,一般只有大型网站用得起,不过经过这几年的国内各大互联网公司的竞争,CDN价格已经降到极致,很多中小网站都用得上。虽然CDN对网站加速有不错的效果,不过CDN对SEO影响也是有的,如果设置不好甚至会让你网站收录爆减,今天主机吧教大家一些关于使用CDN后SEO小技巧。 我们都知道CDN是由多个边缘节点加速网站的,而这些加速节点往往都是一个IP下运行几十上百甚至几百个网…- 0
- 0
- 778.4k
-
百度云加速新功能:源站保护介绍
不知道大家有没有留意百度ADS功能新添加了一个源站保护功能。 这个功能很实用,可以限制客户通过百度云加速节点每秒请求的次数。 一般CC攻击都是通过大量的非法请求网站,导致源服务器内存CPU满100%,网站出现卡、慢,甚至打不开的现象。 而使用源站保护功能后,可以减少请求源站的次,从而保护服务器的正常运行。 总之源站保护功能是一个不错的防护CC手段。不过这个功能得商务版及以上版本才可以用,官方799…- 0
- 0
- 91k
-
浅谈百度云加速影响SEO的几个功能
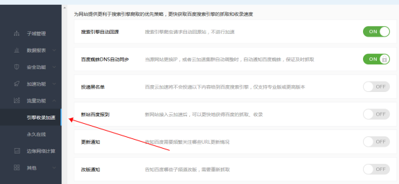
百度云加速是百度旗下一款集成安全、加速、增加收录的产品,很多站长并不了解百度云加速的SEO功能,今天主机吧为大家介绍下百度云加速有些哪些有利于SEO的功能。 百度云加速的SEO功能都在流量功能-搜索引擎收录加速上。 搜索引擎自动回源 :开启后百度蜘蛛访问你的网站的时候将不会经过百度云加速的节点,而且直接从你源服务器抓取,所以稳定的源服务器很重要。 百度蜘蛛DNS自动同步:也就是如果你的服务器IP更…- 0
- 0
- 66.1k



























