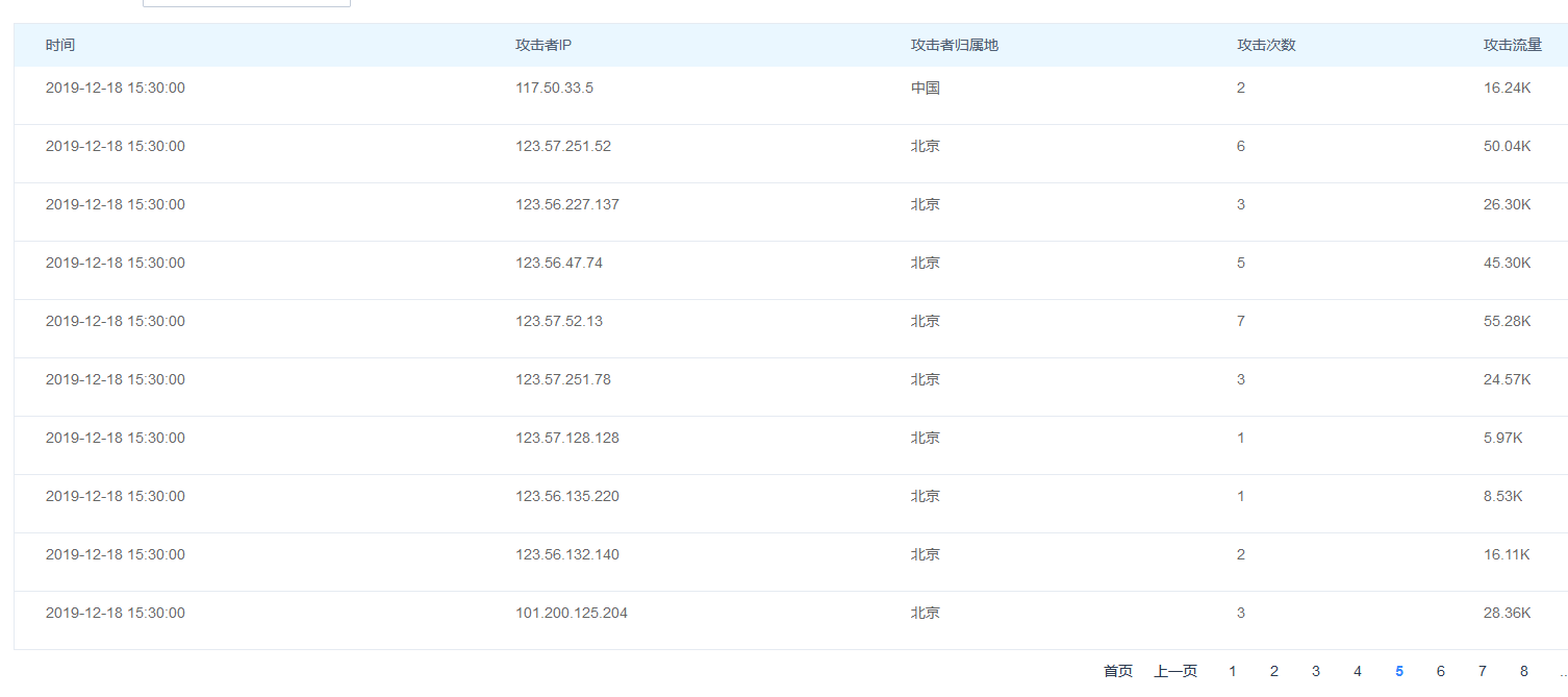
最近在帮一客户的防御CC攻击的时候,查询攻击IP的时候发现好多都是阿里云IP段的
随便查询一个IP地址全是来自阿里的
肉鸡量很多,每台肉鸡只攻击几次,阿里云那边根本察觉不出来,而且由于都是国内的IP,防御起来相当困难。还好百度云加速给力。
这种肉鸡成本其实很低,大多是黑客利用双11阿里云促销的时候购买的主机,购买几十上百台成本也不高,估计他们接一单生意就赚回来了。阿 里云那边也没折,因为从数据上看,这些服务器单个也没有大量攻击别人,都是小请求,符合他们要求,但是集体攻击某网站的话,力量还是非常大的。总之随着云服务器的普及,以及价格越来越低,黑客攻击的成本只会越来越低,想要网站正常运行,还需对网站安全做好防御吧!





